大家好,欢迎来到IT知识分享网。
通过采样、量化和编码,将模拟信号转换成数字信号的过程,就是模/数转换,如下图所示。

1 采样
在发送端,以固定的时间间隔对模拟信号进行抽样,将模拟信号在时间上离散化。到了接收端,利用理想低通滤波器即可重建原始模拟信号。
1.1 采样原理
从时域看,利用冲激信号按照一定的时间间隔对模拟信号进行抽样;从频域看,以采样频率为间隔对模拟信号频谱进行周期性拓展,如下图所示。
1.2 重建原理
利用理想低通滤波器从输入采样信号中重建模拟信号:从时域看,采样信号的每个冲激在滤波器输出端产生一个sinc脉冲,叠加起来就得到了原始模拟信号;从频域看,采样信号的频谱与理想低通滤波器的频率响应相乘,就得到了原始模拟信号的频谱,如下图所示。
1.3 采样定理
为了确保可以从采样信号中恢复出原始的模拟信号,采样频率必须满足一定条件:
采样频率必须大于模拟信号最高频率的2倍:fs>2fmax
这就是奈奎斯特采样定理。以电话线上传输的语音信号为例,其最高频率为3 400Hz,要想通过采样信号重建语音信号,采样频率必须大于3 400×2=6 800Hz。一般PCM编码的采样频率为8kHz,大于6 800Hz,是满足采样定理的。
以小于2倍信号最高频率的采样频率对信号进行采样,会出现频率混淆,这种现象被称为频率混叠。如下图所示。

1.4 采样信号
前面讲的采样都是理想采样,采样信号由一系列冲激信号组成,如下图所示。
采样:利用采样脉冲信号与模拟信号相乘,得到一系列冲激信号。
重建:输入理想低通滤波器的是一系列冲激信号。

实际系统中的采样与理想采样不同,采样时并不需要产生采样脉冲信号与模拟信号相乘,只需要获得模拟信号在采样时刻的电平值即可,如下图所示。

2 量化
所谓量化,就是将采样信号的电平归一化到有限个量化电平上,实现采样信号幅度的离散化,如下图所示。

下面是量化中常见的几个概念。
量化级数:量化电平的个数称为量化级数。
量化误差:信号电平的量化值和实际值之差称为量化误差,也称为量化噪声。量化噪声的幅度最大等于量化间隔的1/2。
量化信噪比=信号功率/量化噪声功率。
2.1 均匀量化
所谓的均匀量化,就是指量化电平取值等间隔。以某波形信号为例,均匀量化后的电平如下图所示。


很明显量化级数越多,量化间隔越小,量化噪声越小。
均匀量化方法简单,但在信号电平比较低的情况下,量化信噪比比较低,如下图所示。

电话通信要求线路的信噪比至少要大于28dB,而且统计发现通话过程中出现小信号的概率大。在量化电平数不能取得太高的情况下,如果采用均匀量化,很难满足信噪比要求,由此引出了非均匀量化。
2.2 非均匀量化
所谓的非均匀量化,就是指量化电平取值不等间隔,量化间隔随着信号电平的增大而增大:小信号细量化,大信号粗量化。如下图所示。

这种量化方法相对复杂,但可以保证信号电平比较小和信号电平比较大场景下的量化信噪比差不多。一般在发送端使用一个压缩器串接一个均匀量化器来实现非均匀量化,相应地在接收端要有一个扩张器,如下图所示。

压缩器和扩张器的输出—输入关系,如下图所示。
3 编码
所谓的编码就是将量化后的信号电平值用二进制数字来表示。量化电平数为N的情况下,信号电平值需要log2N位二进制数字来表示。以量化电平数为16为例,需要4位二进制数字表示。如下表所示。
4 实现
通信系统中的模/数转换功能一般由ADC来完成,数/模转换由DAC来完成。
4.1 ADC
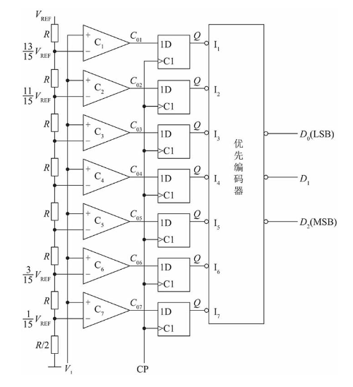
下图所示是一个3位并行比较型ADC的工作原理框图,主要由电阻分压器、电压比较器、寄存器及编码器组成。
图中的8个电阻将参考电压VREF分成8个等级,其中7个等级的电压分别作为7个比较器C1~C7的参考电压,其数值分别为VREF/15,3VREF/15,…,11VREF/15,13VREF/15。
输入电压为V1,它的大小决定各比较器的输出状态,例如:当0≤V1<VREF/15时,C1~C7的输出状态都为0;当3VREF/15≤V1<VREF/15时,比较器C6和C7的输出状态:C06=C07=1,其余各比较器的输出状态均为0。

比较器的输出状态由D触发器存储,经优先编码器编码,得到数字量输出。设V1变化范围是0~VREF,输出3位数字量为D2D1D0,3位并行比较型A/D转换器的输入、输出关系如下表所示。
为了更好地理解ADC原理,将输入信号(V1)、时钟脉冲(CP)、采样信号、量化电平信号画到一张图中,如下图所示。

4.2 DAC
DAC就是数/模转换器。
下图所示是3位R-2R网络型DAC的工作原理框图,主要由电阻网络、3个单刀双掷电子开关、基准电压VREF及运算放大器四部分组成。
电阻R和2R构成T形电阻网络。S0~S2为3个电子开关,它们分别受输入的数字信号3位二进制数D0~D3的控制:当Di=0时,电子开关Si拨向左边,接地;当Di=1时,电子开关Si拨向右边,与运算放大器的反相输入端相接。
运算放大器构成反相比例放大器,其输出Vo为模拟信号电压。VREF为基准电压。

由于运算放大器的反相输入端为“虚地”,因此,无论电子开关Si置于左边还是右边,从T形电阻网络节点A、B、C对“地”往左看的等效电阻均为R,因此可以很方便地求得电路中有关电流的表示式:
而流经反馈电阻R的总电流I′与电子开关S0~S2所处状态有关,只有Si拨向右边时,对应的Ii才会流向反馈电阻R,因此:

运算放大器输出电压:

很明显,输出模拟电压Vo与输入数字量成正比(如图4-31所示),数/模转换完成。

免责声明:本站所有文章内容,图片,视频等均是来源于用户投稿和互联网及文摘转载整编而成,不代表本站观点,不承担相关法律责任。其著作权各归其原作者或其出版社所有。如发现本站有涉嫌抄袭侵权/违法违规的内容,侵犯到您的权益,请在线联系站长,一经查实,本站将立刻删除。 本文来自网络,若有侵权,请联系删除,如若转载,请注明出处:https://haidsoft.com/117243.html







