大家好,欢迎来到IT知识分享网。
描述:位置、姿态与坐标系
描述可用来确定一个操作系统处理的各种对象的特性。这些对象包括零件、工具和操作臂本身。在本章节中,我们将讨论位姿的描述以及包含这两个描述的统一体:坐标系。
位置描述
一旦建立了坐标系,我们就能用一个3 * 1的位置矢量对世界标系中的任何点进行定位因为经常在世界坐标系中还要定义许多坐标系,因此必须在位置矢量上附加一信息,表明是在哪一个坐标系被定义的。在本章节中,位置矢量用个前置的上标来表明其参考的坐标系(除非在文中已明确说明)一例如,
。这表明
的数值是由沿着坐标轴{A}的距离表示的。每个沿着坐标轴的距离都可被认为是矢量在相应坐标轴上的投影。
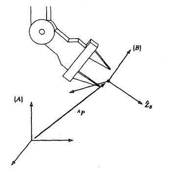
图1 相对于坐标系的矢量
图1用三个相互正交的带有箭头的单位矢量来表示一个坐标系{A}。用一个矢量来表示一个点
,并且可等价地被认为是空间的一个位置或者简单地用一组有序的三个数字来表示。矢量的各个元素用下标x,y和z来标明:
总之,我们用位置矢量来描述空间中的某一位置。
姿态描述
我们发现不仅经常需要表示空间的点,还经常需要描述空间中物体的姿态。例如,如果在图1中矢量P直接确定了在操作手指端之间的某点,只有当手的姿态已知后,手的位置才能完全被确定下来。假定操作手有足够数量的关节,则操作手可有任意的姿态,而该点在指端之间的位置可保持不变。为了描述物体的姿态,我们将在物体上固定一个坐标系并且给出此坐标系相对于参考系的表达。在图1中,已知坐标系{B}以某种方式固定在物体上。{B)相对于{A}中的描述就足以表示出物体的姿态。
因此,点的位置可用矢量描述,物体的姿态可用固定在物体上的坐标系来描述。描述连体坐标系{B}的一种方法是利用坐标系{A}的三个主轴单位矢量来表示。
图2 物体位置和姿态的确定
我们用和
来表示坐标系B主轴方向的单位矢量。当用坐标系(A}的坐标表达时,它们被写成
和
我们很容易将这三个单位量按照
的序排列组成一个3×3的矩阵,我们称这个矩阵为旋转矩阵,并且由于这个特殊转矩阵是{B}相对于{A}的表达所以我们用符号
来表示(下节将进一步说明转阵中左上标和左下标的选择方法)
总之,一组三个矢量可以用来确定一个姿态。简单起见,我们用三个矢量作为矩阵的列来构造一个3 x 3的矩阵。于是,点的位置可用一个量来表示,物体的姿态可用一个矩阵来表示在后续章节节,我们将讨论另外一些只需要三个参数的姿态描述方法。在式 (2-2)中,标量
可用每个量在其参考系中单位方向上影的分来表示于是,式(2-2)中
的各个分量可用一对单位量的点来表示
因此,
为坐标系{A}相对于{B}的描述,可由式(2-3)的转置得到,即
这表明旋转矩阵的逆矩阵等于它的转置,可以简单证明如下:
其中,I是3 x 3的单位阵,因此
实际上,由线性代数[I],我们知道一个正交阵的逆等于它的转置。我们已经在几何上证明了这一点
坐标系描述
完整描述图2中的操作手位姿所需的信息为位置和姿态。我们可在物体上任选一点描述其位置,为方便起见,将其作为连体坐标系的原点。在机器人学中,位置和姿态经常成对出现,于是我们将此组合称作坐标系,四个矢量为一组,表示了位置和姿态信息。例如,在图2中,一个矢量表示指端位置,而另外三个量表示态。一个坐标系可以等价地用一个位置矢量和一个旋转矩阵来描述。注意到参考系是一个坐标系,在这个坐标系中除了姿态,还有一个位置矢量,它可以确定这个坐标系的原点相对于其他入坐标系的位置。例如,用
和
来描述系{B},其中
是确定坐标系{B}的原点的位置矢量
总之,一个参考系可以用一个坐标系相对于另一坐标系的关系来描述。参考系包括了位置和姿态两个概念,大多数情况下被认为是这两个概念的结合。位置可由一个参考系表示这个参考系中的旋转矩阵是单位阵,并且这个参考系中的位置矢量确定了被描述点的位置。同样,如果参考系中的位置矢量是零矢量,那么它表示的就是姿态。
图3 几个坐标系举例
免责声明:本站所有文章内容,图片,视频等均是来源于用户投稿和互联网及文摘转载整编而成,不代表本站观点,不承担相关法律责任。其著作权各归其原作者或其出版社所有。如发现本站有涉嫌抄袭侵权/违法违规的内容,侵犯到您的权益,请在线联系站长,一经查实,本站将立刻删除。 本文来自网络,若有侵权,请联系删除,如若转载,请注明出处:https://haidsoft.com/146709.html
。这表明


和
来表示坐标系B主轴方向的单位矢量。当用坐标系(A}的坐标表达时,它们被写成
和
我们很容易将这三个单位量按照
的序排列组成一个3×3的矩阵,我们称这个矩阵为旋转矩阵,并且由于这个特殊转矩阵是{B}相对于{A}的表达所以我们用符号
可用每个量在其参考系中单位方向上影的分来表示于是,式(2-2)中
的各个分量可用一对单位量的点来表示

为坐标系{A}相对于{B}的描述,可由式(2-3)的转置得到,即


来描述系{B},其中
