大家好,欢迎来到IT知识分享网。
目录
一、介绍
1.单片机简介
单片机是单片微型计算机的简称,Mcu是Microcontroller的简称,也就是嵌入式微控制器。采用集成电路技术将具有数据处理能力的中央处理器CPU、随机存储器RAM、只读存储器ROM、定时器/计时器、多种I/O口和中断系统等功能集成到一块硅片上。可以说单片机就是一个小而完善的微型计算机系统。
2.单片机型号
51单片机 – 8051架构
STC89C51 宏晶科技STC
AT98C51 ATMEL
32单片机 GD32和STM32都是基于ARM Cortex-M3/M4内核开发的通用微控制器。
STM32 意法半导体ST
GD32 兆易创新GD
tips:处理器位数:CPU单词运算最大处理的数据位数,8位算32位能算,但是很慢。
处理器位数越高,运算速度越快。
3.体系
STM32-GPIO编程+液晶屏
STM32-USART串口应用
STM32-中断系统
STM32-时钟系统
STM32-ADC + DMA (数据搬移)
STM32-通信模组 蓝牙、Wifi
二、硬件基础
1.引言
嵌入式工程师硬件要学到什么程度呢?其实做嵌入式软件开发,本质上不需要你硬件非常精通,你可以不会画电路图,可以不会焊接,可以不会打PCB板。但是你需要懂电路基本原理,认识常用的元器件,能看懂电路图,会调试电路。尤其是越底层的开发(单片机、Linux驱动等)越接近硬件。当然,如果你能精通硬件更好,那你就是真正意义的嵌入式全栈工程师,这个需要看个人了,每个人精力都有限,软硬兼通需要很强的天赋及努力,而且要看工作后的机遇。有句话叫好的硬件工程师都是钱喂出来的,因为它的试错成本要远远高于软件。这个教程就是带你去了解下硬件的一些基本知识,学会这些知识想成为硬件工程师是不可能的,但是足以让你应付嵌入式软件开发。
注:本文内容很多来自网上资料整理和修改,这里承诺仅做教学使用,不涉及商业用途。
2.电路基础
电的类比
一般我们把电子知识想复杂了,实际电就可以理解为是水,电的特性和水的特性是类似的,因为电是看不见的,所以我们理解起来有困难。
电流
这个是水流量计( 1单位流量= 1吨/小时=1T/H)
这个是电流表(安培 1A= 1库伦/秒)
电流表实际就可以看成是水流表,就是计算水的流量,电的流量的意思。我们水管中流出了多少水,很容易理解,实际电在电线中流动,可以看成水的流动是一样的 。
电压
电压==电压差
这个是水压表
这个是电压表
我们可以认为水压表测量水对水管的压力,电压表是测量电对电线的压力。水是从水压高的地方流到水压低的地方,电也是从电压高的地方流到电压低的地方。
总结
电可以认为是看不见的水
电压类似于水压 (电压差)==(水流差)
电流类似于水流
电路
水到处流动 形成小河、小溪之类。电到处流动,形成什么,就是电路。水走的路是水路,电路这样就好理解了,以下是家装用的水路图。
类比电路图
不要把电路图当中的东西看复杂了 ,我们看水路图 实际就是一个个水阀、洗衣机、热水器之类的。电路图中每个元件、设备、也就是类似于那些水路中的设备,无非是一个用水来驱动、控制,一个用电的。
总结
水路 水走的路
电路 电走的路
3.电子元器件
电路图中有很多元件,我们可以把很多元件看成水路中的很多元件就容易理解。
电阻
电阻实际是大小不同的水管让水流的小一点,慢一点,这样后面的器件,不至于受到大电流冲击搞坏了 。电阻无方向,电阻就是阻碍电的流动,你可以想象一个水管里有水垢,水垢越多,水阻越大,水流越小。同理,电阻越大,导体对电流的阻碍作用越大,电流越小。
实物图
电路符号
电容
电容是可以理解成一个装水的容器(水桶、池塘、湖泊、水库),水要通过池塘、湖泊,首先需要灌满它才能过得去。所以这部分水(电能)可以被这些容器保存下来,这是电容的储能作用,另外很明显,无论前面的水流多么湍急,到了湖泊就要先灌满它,湖泊开口再向下游流水,自然流水就缓慢一些,所以它也有缓冲的作用。大波浪到了湖泊变平稳,实际变成了小波浪,波的形状都变了,这就是过滤的作用,只允许特定的波通过。
所以电容在电路中是储能、缓冲、减压、过滤器件。
- 储能器件 对应电解电容
- 缓冲过滤器件 对应耦合电容
- 漏斗 对应滤波电容
同一颗电容在电路中摆放的位置不同,作用不同,也就是在这个电路中它主要起漏斗的作用,但是在另外的电路中,它就是做储能了。因为后面的元件需要是稳定的水流, 你可以这样想象我们拿着水桶往水缸里倒水的时候,水面上起的水花是很大的,这样的水花,对后面的器件是有损伤的。
实物
电路符号
二极管
正向导通,反向截止
二极管实际是单向阀门, 意思就是说 水只能从一头进另一头出 。二极管就是这么个作用,它只能从一边过来的电能通过,从另一边过来的实际就过不去,记得电看成是水。
这个就是二极管的符号,很形象,右边有个竖杠,很明显,从左边来的电能流到右边,从右边来的就被挡到了。左边来挡片冲开,右边来抵死。
二极管在电路中的特性与水路中的单向阀基本原理一致。
实物
电路符号
三极管
三极管实际是个小阀门控制大阀门的器件。
三极管有两种类型,PNP和NPN型。两者的不同参考:npn与pnp五大不同https://www.dgjs123.com/bandaoti/24752.htm
终于有人讲了,凭什么三极管能放大?_哔哩哔哩_bilibili充分讲解三极管是如何实现放大的,以及二极管原理(虽然讲了无数遍了),已经对二极管熟悉的可从中间开始看。三极管放大原理, 视频播放量 、弹幕量 564、点赞数 42865、投硬币枚数 9206、收藏人数 25503、转发人数 3222, 视频作者 电子工程师华哥, 作者简介 采购元器件/PCB打板/SM贴片:上华秋商城www.hqchip.com.我是一个很会剪辑的电子工程师华哥~,相关视频:没人讲PNP三极管是吧?我讲!,终于有人讲清楚了,三极管共基/共集/共射怎么理解?,三极管的饱和与放大,抛开理论,三极管的放大区到底怎么理解?,看完这辈子都忘不了,三极管工作原理。,三极管应用,控制一个LED灯的开关,三极管是如何导电?超形象动画让你一看就懂!,300-三极管信号放大原理,直流和交流叠加后再放大,明白了,另类方式讲解电容的作用,让你理解的更加深刻,三极管是如何实现放大的(上)赵全老师纯干货!https://www.bilibili.com/video/BV1fB4y147Gn/?spm_id_from=333.788&vd_source=145b3a064593de8cd1eec3f67b52f17e
【稚晖君、马鹿、电子工程师华哥】
两种三极管使用时候决定着电路图的接法不同,如下是个常见的共基极PNP型电源控制开关
实物
电路符号
半导体三极管有三个电极:分别是基极、集电极和发射极。半导体管在工作时要加工作电压,于是就产生了各极电流。半导体三极管在工作时发射极电流等于基极和集电极电流之和。其中基极电流最小,发射极电流最大。在基极加一很小的电流,在集电极就能输出很大的电流,因此三极管有放大作用。三极管主要作用是放大信号。常用在放大电路和振荡电路中。
4.常见电气接口
传统音频
视频
电源
RJ45网口
DB9串口
公头和母头
公头就是插头上是针的,母头就是插头上是孔的
线序及作用
实际开发过程中,线序可以去网上搜,只需要知道线序如何看,及红色的三条线即可。
5.开发板/最小系统板
开发板通常是学习用途,功能比较全,接口丰富,是用于研发、研究、学习的一块板子。
最小系统板是个核心板,集成了核心的通用功能,可以根据需求定制各种不同的底板,通用性较好。再者核心板作为一块独立的模块被分离出来,也降低了开发的难度,增加了系统的稳定性和可维护性通常用于做项目,也可以作为模块在产品里在直接用。
PCB板(Printed Circuit Board),中文名称为印制电路板,又称印刷线路板,是重要的电子部件,是电子元器件的支撑体,是电子元器件电气相互连接的载体。由于它是采用电子印刷术制作的,故被称为印刷电路板。
PCB没有焊接元器件
PCBA 焊接完的电路板
三、STM32介绍
1.简介
STM32是意法半导体公司生成一款32位的微控制器。属于单片机。
2.STM32的优势
产品型号丰富,可选择性强;
运算速度快,功耗低;
处理器外设接口丰富;
库函数开发体系学习资料多(可以抛开寄存器),应用广泛。
3.命名规范
STM32G030C8T6
ST – 意法半导体
M – 微型控制器
32 – 32位处理器
类型 – G – 多用途型
F – 通用型
H – 高性能型
L – 低功耗型
S – 精简型
系列 – 0 精简系列
1/2/3 增强系列
4/7 高性能系列
子型号 – 00/01/02/03/05/07
引脚数量 –
K/6 32脚
C/8 48脚
R-64脚
V-100脚
Z-144脚
A-168脚
I-176脚
B-208脚
N-216脚
存储量
6 : 32KB
8 : 64KB
B : 128KB
C : 256KB
D : 384KB
E : 512KB
G : 1MB
I : 2MB
封装
U – UQFN封装
T – TQFP封装
工作温度
6 -40 ~ +85 摄氏度
4.开发套件介绍
核心板 – 处理器 + 无线通信模块(NB-IOT、Wifi、Zigbee)
底板 – 承载各种外设接口
如传感器扩展口、按键、LED灯、通信接口MiniUSB、五向按键等。
配套模块
传感器 :
执行器 :蜂鸣器、风扇、电灯、继电器
ARM体系结构
1.ARM简介
STM32G030处理器内核架构为ARM Cortex-M0+。
面试题:谈谈对ARM的理解
ARM处理器、ARM公司(知识产权(IP)供应商)
答: 1- ARM是一家公司,ARM公司是一家芯片知识产权(IP)供应商,它与一般的半导体公司最大的不同就是不制造芯片且不向终端用户出售芯片,而是通过转让设计方案,由合作伙伴生产出各具特色的芯片。
2 – ARM处理器,ARM处理器是英国Acorn有限公司设计的低功耗低成本的第一款RISC微处理器。
ARM7\ARM9\ARM11
Cortex – A :高性能 Cortex -R:实时性(汽车中控) Cortex – M:低功耗
Cortex – X:超高性能
3 – ARM代表一种技术(指令集)。具有性能高、成本低和能耗省的特点。在智能机、平板电脑、嵌入控制、多媒体数字等处理器领域拥有主导地位。
Tips:目前市面上主流的架构有哪些?
主流的四大架构:ARM、intel x64/x86、MIPS、RISC-V(开源,降低成本)
Tips:
RISC和CISC有什么区别?
案例:
早期的CPU全部是CISC架构,它的设计目的是要用最少的机器语言指令来完成所需的计算任务。
比如对于乘法运算,在CISC架构的CPU上,您可能需要这样一条指令:
MUL ADDRA, ADDRB
就可以将ADDRA和ADDRB中的数相乘并将结果储存在ADDRA中。
将ADDRA,ADDRB中的数据读入寄存器,相乘和将结果写回内存的操作全部依赖于CPU中设计的逻辑来实现。
这种架构会增加CPU结构的复杂性和对CPU工艺的要求,但对于编译器的开发十分有利。
比如上面的例子,C程序中的a*=b就可以直接编译为一条乘法指令。
今天只有Intel及其兼容CPU还在使用CISC架构。
RISC架构要求软件来指定各个操作步骤。上面的例子如果要在RISC架构上实现,
将ADDRA, ADDRB中的数据读入寄存器,相乘和将结果写回内存的操作都必须由软件来实现,
比如:
MOV A, ADDRA;
MOV B, ADDRB;
MUL A, B;
STR ADDRA,A。
这种架构可以降低CPU的复杂性以及允许在同样的工艺水平下生产出功能更强大的CPU,
但对于编译器的设计有更高的要求。
ARM也属于精简架构
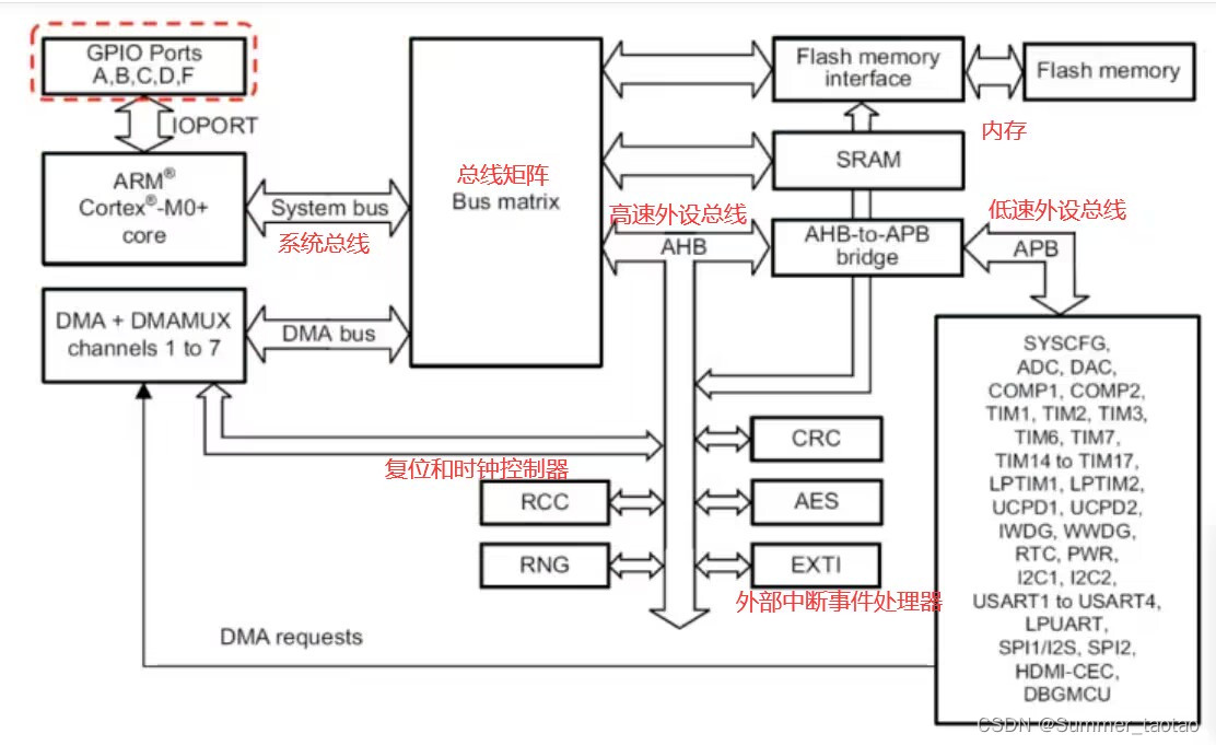
3.处理器架构
STM32F0
STM32G0
● 主模块 :
Cortex-M0+内核及先进高性能总线 (AHB bus)
通用 DMA ( GP-DMA — general-purpose DMA)
● 从模块 :
– 内部FLASH 闪存
– 内部SRAM 内存
– APB桥,连接AHB和APB,所有的外设都挂在APB低俗总线上
– G0: GPIOx直接挂在IOPORT总线上。
– F0 : 专门用于连接GPIO口的AHB2总线
Tips:AHB和APB的区别?
AHB是高速总线,是一种系统总线,它主要负责连接处理器、DMA等一些内部接口。
AHB系统由主模块、从模块和基础结构3部分组成,整个AHB总线上的传输都由主模块发出,由从模块负责回应。(内存有关)
APB是低速总线,它主要负责连接外围设备,它又分为APB1和APB2,
它的总线架构不像 AHB支持多个主模块,在APB里面唯一的主模块就是APB桥。
4.Cortex-M0内核架构
Cortex-M 系列产品线
Cortex-M 系列产品主要包括 Cortex-M0、Cortex-M1、Cortex-M3、Cortex-M4、Cortex-M7 等,其中 Cortex-M0 主打低功耗和混合信号的处理,M3 主要用来替代 ARM7,重点侧重能耗与性能的平衡,而 M7 则重点放在高性能控制运算领域。
Cortex-M0结构框图
NVIC在内核里
SWD串行线调试接口
Cortex-M0 微处理器主要包括处理器内核、嵌套向量中断控制器(NVIC)、调试子系统、内部总线系统构成。
Cortex-M0 微处理器通过精简的高性能总线(AHB-LITE)与外部进行通信。
Cortext-M0特性
- 采用Thumb指令集 (ARM指令是32位的,而Thumb指令时16位的,如果存储空间中可以放32条ARM指令,就可以放64条Thumb指令,因此在存放Thunb指令时,代码密度高)
- 高性能,使用ARMv6-M的体系架构;
- 中断数量可配置1-32个,4级中断优先级
- 门电路少,低功耗 中断唤醒控制器(WIC),支持极低功耗休眠模式
- 兼容性好 与Cortex-M1 处理器兼容,向上兼容 Cortex-M3 和 Cortex-M4 处理器 ,可以很容易地升级、移植
- 支持多种嵌入式操作系统,也被多种开发组件支持 FreeRTOS
Cortex-M0工作模式
线程模式(Thread Mode)- 芯片复位后,执行用户程序
处理模式(Handler Mode)- 当处理器发生了异常或者中断,处理完成后返回线程模式。
Cortex-M0工作状态
Thumb状态:正常运行时处理器的状态
调试状态:调试程序时处理器的状态
Cortex-M0的寄存器
通用寄存器
R0-R12:13个通用寄存器。其中 R0-R7为低端寄存器,可作为16位或32 位指令操作数,R8-R12为高端寄存器,只能用作32位操作数
R13:栈指针寄存器 SP(the stark pointer),Cortex-M0 在不同物理位置上存在两个栈指针,主栈指针 MSP,进程栈指针 PSP。
在处理模式下,只能使用主堆栈,在线程模式下,可以使用主堆栈也可以使用进程堆栈。 系统上电的默认栈指针是MSP。这样设计的目的是为了在进行模式转换的时候,减少堆栈的保存工作。同时也可以为不同权限的工作模式设置不同的堆栈。
R14:链接寄存器LR(the link register),用于存储子程序或者函数调用的返回地址,记录下一条指令的地址,以便执行完其他指令后回来继续执行
R15:程序计数器PC(the program counter register)存储下一条将要执行的指令的地址。
特殊寄存器
xPSR:组合程序状态寄存器,该寄存器由三个程序状态寄存器组成
应用PSR(APSR):保存程序计算结果的状态标志 N负数标志 Z零标志 C进位借位标志 V溢出标志
spsr 计算当前的状态
中断PSR(IPSR):包含当前ISR的异常编号
执行PSR(EPSR):包含Thumb状态位
CONTROL:控制寄存器
控制处理器处于线程模式时,使用哪个堆栈
=0,使用MSP 处理器模式时,固定使用MSP
=1,使用PSP
Cortex-M0的中断和异常
Cortex-M0 处理器最多支持32个外部中断(通常称为 IRQ)和一个不可屏蔽中断(NMI),另外Cortex-M0还支持许多系统异常(Reset、HardFault、SVCall、PendSV、SysTick),它们主要用于操作系统和错误处理
Tips:Thumb指令集和ARM指令集的区别?
Cortex-M0的指令集
ARM处理器支持两种指令集:ARM 和 Thumb。
EPSR寄存器的T标志位负责指令集的切换,Cortex-M0只支持Thumb指令。
ARM指令集 32位精简指令集; 指令长度固定;
降低编码数量产生的耗费,减轻解码和流水线的负担;
Thumb指令集
Thumb指令集是ARM指令集的一个子集;
指令宽度16位;
与32位指令集相比,大大节省了系统的存储空间;
Thumb指令集不完整,所以必须配合ARM指令集一同使用。
免责声明:本站所有文章内容,图片,视频等均是来源于用户投稿和互联网及文摘转载整编而成,不代表本站观点,不承担相关法律责任。其著作权各归其原作者或其出版社所有。如发现本站有涉嫌抄袭侵权/违法违规的内容,侵犯到您的权益,请在线联系站长,一经查实,本站将立刻删除。 本文来自网络,若有侵权,请联系删除,如若转载,请注明出处:https://haidsoft.com/150764.html















































