大家好,欢迎来到IT知识分享网。
1、移动网络的发展历程
发展过程就是:2G,3G,4G,5G的过程,用2G看txt,用3G看jpg,用4G看avi。
2、2G网络
手机本来是用来打电话的,不是用来上网的,所以原来在2G时代,上网使用的不是IP网络,而是电话网络,走模拟信号,专业名称为公共交换电话网。
手机没有连接网线,也没有电话线,是如何上网的?
- 手机是通过收发无线信号来通信的,专业名称是Mobile Station,简称MS,需要嵌入SIM。
- 手机是客户端,而无线信号的服务端就是基站(BBS)。
- 无论无线通信如何无线,最终还是要连接到有线的网络里.
基站子系统分两部分:
4. 一是对外提供无线通信,叫作基站收发信台。
5. 二是对内连接有线网络,叫作基站控制器。
基站收发信台通过无线收到数据后,转发给基站控制器,称为无线接入网。
基站控制器通过有线网络,连接到提供手机运营商的数据中心,这部分称为核心网,核心网还没有真的进入互联网。
接入流程:
6. 首先接待基站来的数据的是移动业务交换中心(MSC,Mobile Service Switching Center),它是进入核心网的入口,但是它不会让你直接连接到互联网上。
7. 在让你的手机真正进入互联网之前,提供手机业务的运营商,需要认证是不是合法的手机接入。别你自己造了一张手机卡,就连接上来。鉴权中心(AUC,Authentication Center)和设备识别寄存器(EIR,Equipment Identity Register)主要是负责安全性的。
8. 另外,需要看你是本地的号,还是外地的号,这个牵扯到计费的问题。
9. 访问位置寄存器(VLR,Visit Location Register)是看你目前在的地方。
10.归属位置寄存器(HLR,Home Location Register)是看你的号码归属地 。
当你的手机卡既合法又有钱的时候,才允许你上网。
10. 在核心网和互联网之间,还有一个网关,网关移动交换中心(GMSC ,Gateway Mobile Switching Center)就是干这个的。然后是真正的互连网。在2G时代,还是电话网络PSTN
11.数据中心里面的这些模块统称为网络子系统(NSS,Network and Switching Subsystem)
总结一下:
手机通过无线信号连接基站。
基站一面朝前接无线,一面朝后接核心网。
核心网一面朝前接到基站请求,一是判断你是否合法,二是判断你是不是本地号,还有没有钱,一面通过网关连接电话网络
3、2.5G网络
- 从2G到了2.5G,即在原来电路交换的基础上,加入了分组交换业务,支持Packet的转发,从而支持IP网络,原先是电话网络。
- 在网关和互联网之间,多了一个分组控制单元(PCU,Packet Control Unit),用以提供分组交换通道。
4、3G网络
- 到了3G时代,主要是无线通信技术有了改进,增加了无线的带宽。
5、4G网络
- 今天的4G网络,基站为eNodeB,包含了原来Node B和RNC的功能,下行速度向百兆级别迈进。
- 核心网实现了控制面和数据面的分离。
- 在前面的核心网里面,有接待员MSC或者SGSN,你会发现检查是否合法是它负责,转发数据也是它负责,也即控制面和数据面是合二为一的,这样灵活性比较差,因为控制面主要是指令,多是小包,往往需要高的及时性;数据面主要是流量,多是大包,往往需要吞吐量。
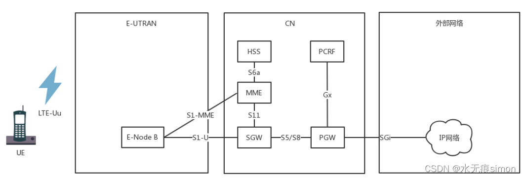
- 于是架构发生了如下的变化:
- HSS用于存储用户签约信息的数据库,其实就是你这个号码归属地是哪里。
- MME是核心控制网元,是控制面的核心,当手机通过eNodeB连上的时候,MME会根据HSS的信息,判断你是否合法。如果允许连上来,MME不负责具体的数据的流量,而是MME会选择数据面的SGW和PGW,然后告诉eNodeB,允许你连接。
- 于是手机直接通过eNodeB连接SGW,连上核心网,SGW相当于数据面的接待员,并通过PGW连到IP网络。
- PGW就是出口网关。在出口网关,有一个组件PCRF,称为策略和计费控制单元,用来控制上网策略和流量的计费。
6、4G网络协议解析
控制面协议
其中虚线部分是控制面的协议。当一个手机想上网的时候,先要连接eNodeB,并通过S1-MME接口,请求MME对这个手机进行认证和鉴权。S1-MME协议栈如下图所示:
- UE就是你的手机,eNodeB还是两面派,朝前对接无线网络,朝后对接核心网络,在控制面对接的是MME。
- eNodeB和MME之间的连接就是很正常的IP网络,但是这里面在IP层之上,却既不是TCP,也不是UDP,而是SCTP。这也是传输层的协议,也是面向连接的,但是更加适合移动网络。 它继承了TCP较为完善的拥塞控制并改进TCP的一些不足之处。
数据面协议
7、手机上网流程(Attach)
8、异地上网问题
这样判断你是否能上网的在国内运营商的HSS,控制你上网策略的是国内运营商的PCRF,给手机分配的IP地址也是国内运营商的PGW负责的,给手机分配的IP地址也是国内运营商里统计的。运营商由于是在PGW里面统计的,这样你的上网流量全部通过国内运营商即可,只不过巴塞罗那运营商也要和国内运营商进行流量结算。
由于你的上网策略是由国内运营商在PCRF中控制的,因而你还是上不了脸书
免责声明:本站所有文章内容,图片,视频等均是来源于用户投稿和互联网及文摘转载整编而成,不代表本站观点,不承担相关法律责任。其著作权各归其原作者或其出版社所有。如发现本站有涉嫌抄袭侵权/违法违规的内容,侵犯到您的权益,请在线联系站长,一经查实,本站将立刻删除。 本文来自网络,若有侵权,请联系删除,如若转载,请注明出处:https://haidsoft.com/140839.html










